News
Porsche patents a new W12 engine: What’s cooking?
Porsche has filed a patent for a new W12 engine. This comes after Bentley, another VW Group company, phased out W12s from its lineup.
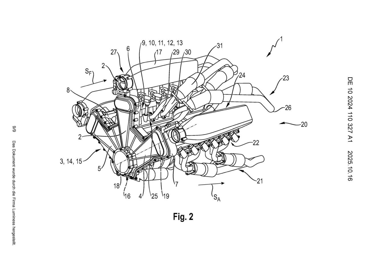
The W12 that powered the Bentley Continental GT was essentially two VR6 engines mated together. Porsche’s version is a bit more complicated. It has two banks of cylinders in a V-configuration and a third bank sandwiched between them.

Porsche says, “The cylinders of the internal combustion engine are arranged in a W-shape. Each cylinder head has at least one intake port and one exhaust port, wherein the intake port is connected to an air plenum for flow, and the exhaust port is connected to an exhaust gas discharge device.”
“The air plenum is arranged on the upper side, in particular largely covering it, such that air can flow from the air plenum into the intake channels from above, or can be sucked in directly in a straight line, thus without curvature, by a reciprocating piston of the internal combustion engine, which is arranged in the cylinder to perform a substantially upward and downward movement. The air chamber thus has an opening for flow connection with the intake port, which is oriented in the direction of the crankshaft.”

The fact that Porsche is investing in a new W12 engine suggests that there is still hope for a high-performance engine to be part of the VW Group lineup. Whether it will go into production is anyone’s guess.
Source: Carscoops


W
October 20, 2025 at 3:55 am
This thing looks to be 18cyl to me
Trevor Garrett
October 20, 2025 at 3:02 pm
This could be a phenomenal motor, BUT why is called a W12 if it’s 18 cylinders? 🧐
Partho Chakrabarti
October 21, 2025 at 11:33 am
Nope, it’s Four cylinders per block
Eddy
October 21, 2025 at 11:42 am
Duh.. it’s 3x 4-cylinder W-design !