McLaren
McLaren patents triple-motor axle for electric supercar
Supercar manufacturer McLaren has filed for a new patent. This time, it pertains to an electric drivetrain. The carmaker has patented a triple-motor setup on a single drive axle.
McLaren’s triple-motor axle patent
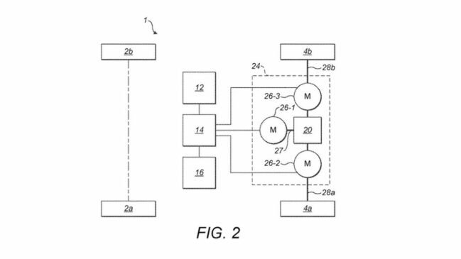
According to the images filed, the axle consists of a differential with a motor at each end. This means there is a primary motor at the input of the differential along with a motor each at the output of the differential. This makes it three motors on one axle. All these are placed inside a low weight magnesium or aluminum case.

The possibilities with these three motors are endless. These motors will not only will they work in tandem, but also for torque vectoring and regenerative braking. Infact, McLaren might be able to apply the brakes on one of the motors and power the opposite end to put down power more effectively.
Applications of this system
Further, McLaren says that this system will not be restricted to just all-electric vehicles. According to the patent information, multiple applications could use this powertrain. Some of the examples include pairing it with a traditional battery unit, or a hydrogen fuel cell or a bunch of supercapacitors. Additionally, a hybrid car could also find itself with this system. In this case, the triple-motors would power one axle while the other would get its power from the conventional engine.

McLaren could use this in its electric supercar?
That said, more power as well as ways to effectively put it down are more than welcome when it comes to electric supercars. No doubt this system would be too complex, but for a supercar, it is no big deal. This could also mean that McLaren could soon use this tech on its upcoming electric supercar.
Source : TheDrive

